Отвечаем на вопросы по пожарной безопасности
Попробуйте найти аналогичную тему среди 4819 имеющихся вопросов по пожарной безопасности или
Задайте свой вопрос 
» » 🔥Требования пожарной безопасности к машинному помещению лифта для пожарных

🔥Требования пожарной безопасности к машинному помещению лифта для пожарных

  • 0
2019-05-16 10:30 0
В многоквартирном жилом доме (18 этажей) запроектированы два лифта: 400 кг и 1000 кг (последний - с функцией ППП).
В каждой шахте предусмотрен подпор воздуха и противопожарные двери 30 и 60 минут. Можно ли объединить машинные помещения лифтов, предусмотрев лишь входные двери в общее помещение противопожарными?
2019-05-16 10:30
  • 0
Николай Морозов
Ответил эксперт:
Требования к строительным конструкциям и оборудованию систем противопожарной защиты лифтов для пожарных установлены ГОСТ Р 53296-2009 "Установка лифтов для пожарных в зданиях и сооружениях. Требования пожарной безопасности" .
В соответствии с п.5.2.1 ГОСТ Р 53296-2009  лифт для пожарных должен размещаться в выгороженной шахте. Ограждающие конструкции шахт должны иметь предел огнестойкости не менее 120 мин (REI 120).
В соответствии с п.5.2.5 ГОСТ Р 53296-2009  ограждающие конструкции и двери машинных помещений лифтов для пожарных вне зависимости от типа привода лифтов должны быть противопожарными с пределами огнестойкости не менее 120 мин и 60 мин соответственно (REI 120 и EI 60).
Соответственно, если лифт для пожарных размещен в отдельной (обособленной) выгороженной шахте (ограждающие конструкции шахты должны иметь предел огнестойкости не менее REI 120), то, соответственно, и машинное помещение лифта для пожарных должно быть отделено (обособленно) и иметь ограждающие конструкции и двери с пределами огнестойкости не менее 120 мин и 60 мин соответственно (REI 120 и EI 60).
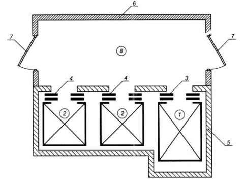
Пример: Рис.А.2 ГОСТ Р 53296-2009  - Схема размещения лифта для пожарных в обособленной (выгороженной) шахте с общим лифтовым холлом с другими пассажирскими лифтами
        1 - лифт для пожарных; 2 - пассажирские лифты; 3 - противопожарная дверь шахты лифта для пожарных с пределом огнестойкости EI 60; 4 - противопожарные двери шахты пассажирских лифтов с пределом огнестойкости по 5.2.3  настоящего стандарта; 5 - ограждающие конструкции шахты лифта для пожарных с пределом огнестойкости REI 120; 6 - ограждающие конструкции шахты пассажирских лифтов с пределами огнестойкости, установленными соответствующими нормативными документами; 7 - противопожарные перегородки 1-го типа, ограждающие лифтовый холл; 8 - лифтовый холл (тамбур); 9 - противопожарные двери 2-го типа лифтового холла в дымогазонепроницаемом исполнении

В случае размещения лифта для пожарных в общей шахте с другими пассажирскими лифтами (п.5.1.7, приложение А, рис.А.3 ГОСТ Р 53296-2009) машинные помещения лифта для пожарных и других пассажирских лифтов возможно объединять, при этом ограждающие конструкции и двери объединенных машинных помещений лифтов должны быть противопожарными с пределами огнестойкости не менее 120 мин и 60 мин соответственно (REI 120 и EI 60).
Пример: Рис.А.3 ГОСТ Р 53296-2009  - Схема размещения лифта для пожарных в общей шахте с другими пассажирскими лифтами
1 - лифт для пожарных; 2 - пассажирские лифты; 3 - противопожарная дверь шахты лифта для пожарных с пределом огнестойкости EI 60; 4 - противопожарные двери шахты пассажирских лифтов с пределом огнестойкости EI 60; 5 - ограждающие конструкции общей шахты с пределом огнестойкости REI 120; 6 - противопожарные перегородки 1-го типа, ограждающие лифтовый холл (тамбур); 7- противопожарные двери 2-го типа лифтового холла (тамбура) в дымогазонепроницаемом исполнении; 8 - лифтовый холл (тамбур)

Если не можете найти нужное решение, задайте свой вопрос!

Пожалуйста, более подробно опишите Вашу ситуацию (не менее 150зн).
Услуга бесплатна.

Закажите звонок эксперта по пожарной безопасности!
Перезвоним моментально:

Услуга бесплатна.