Отвечаем на вопросы по пожарной безопасности
Попробуйте найти аналогичную тему среди 4819 имеющихся вопросов по пожарной безопасности или
Задайте свой вопрос 
» » 🔥Размещение лифта для пожарных в общей шахте с другими пассажирскими лифтами

🔥Размещение лифта для пожарных в общей шахте с другими пассажирскими лифтами

  • 0
2019-05-16 18:12 0
В жилом доме (18-этажном) два лифта, расположенные в общей шахте. Шахта разделена сеткой. Один лифт - для перевозки пожарных подразделений.
Вопрос: Нужно ли в таком случае проектировать две отдельные системы (как это выполнено в типовой серии 121-Т)?
Объем-то общий. Может, выполнить расчет на одну открытую дверь на первом этаже и на 35 закрытых дверей? И выполнить одну систему для общей шахты?
2019-05-16 18:12
  • 0
Николай Морозов
Ответил эксперт:
Требования к строительным конструкциям и оборудованию систем противопожарной защиты лифтов для пожарных установлены ГОСТ Р 53296-2009 "Установка лифтов для пожарных в зданиях и сооружениях. Требования пожарной безопасности" .
В соответствии с п.5.2.1 ГОСТ Р 53296-2009 "Установка лифтов для пожарных в зданиях и сооружениях. Требования пожарной безопасности"  лифт для пожарных должен размещаться в выгороженной шахте. Ограждающие конструкции шахт должны иметь предел огнестойкости не менее 120 мин (REI).
В соответствии с п.5.1.7 ГОСТ Р 53296-2009  двери шахт лифтов для пожарных должны быть противопожарными с пределами огнестойкости не менее 60 мин (EI 60). В случае размещения лифта для пожарных в общей шахте с другими пассажирскими лифтами двери шахт всех лифтов в этой общей шахте (см. приложение А, рис.А.3) должны быть противопожарными с пределами огнестойкости не менее 60 мин (EI 60).
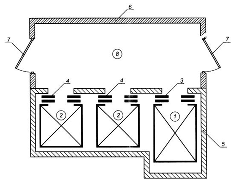
Рис.А.3 - Схема размещения лифта для пожарных в общей шахте с другими пассажирскими лифтами
1 - лифт для пожарных; 2 - пассажирские лифты; 3 - противопожарная дверь шахты лифта для пожарных с пределом огнестойкости EI 60; 4 - противопожарные двери шахты пассажирских лифтов с пределом огнестойкости EI 60; 5 - ограждающие конструкции общей шахты с пределом огнестойкости REI 120; 6 - противопожарные перегородки 1-го типа, ограждающие лифтовый холл (тамбур); 7 - противопожарные двери 2-го типа лифтового холла (тамбура) в дымогазонепроницаемом исполнении; 8 - лифтовый холл (тамбур)

В данном случае шахта для лифта для пожарных и пассажирских лифтов рассматривается как общая шахта и к ней предъявляются требования как к шахте лифтов для пожарных.
В соответствии с п.5.2.6 ГОСТ Р 53296-2009  шахты лифтов для пожарных, а также их лифтовые холлы (тамбуры) в подземных и цокольных этажах зданий (сооружений) должны быть оснащены автономными системами приточной противодымной вентиляции для создания избыточного давления при пожаре.
В соответствии с п.7.14 СП 7.13130.2013 "Отопление, вентиляция и кондиционирование. Противопожарные требования"  подачу наружного воздуха при пожаре системами приточной противодымной вентиляции следует предусматривать:
а) в шахты лифтов (при отсутствии у выходов из них тамбур-шлюзов, защищаемых приточной противодымной вентиляцией), установленных в зданиях с незадымляемыми лестничными клетками;
б) в шахты лифтов с режимом "перевозка пожарных подразделений" независимо от назначения, высоты надземной и глубины подземной части зданий и наличия в них незадымляемых лестничных клеток - предусматривая отдельные системы согласно ГОСТ Р 53296;
Соответственно, возможно сделать вывод о том, что в данном конкретном случае в общей шахте лифтов (ограждающие конструкции общей шахты с пределом огнестойкости REI 120, двери шахт всех лифтов в этой общей шахте должны быть противопожарными с пределами огнестойкости не менее 60 мин (EI 60)) устанавливается единая автономная система приточной противодымной вентиляции для создания избыточного давления при пожаре.

Если не можете найти нужное решение, задайте свой вопрос!

Пожалуйста, более подробно опишите Вашу ситуацию (не менее 150зн).
Услуга бесплатна.

Закажите звонок эксперта по пожарной безопасности!
Перезвоним моментально:

Услуга бесплатна.