Отвечаем на вопросы по пожарной безопасности
Попробуйте найти аналогичную тему среди 4819 имеющихся вопросов по пожарной безопасности или
Задайте свой вопрос 
» » 🔥Шахта лифта для пожарных не может использоваться для компенсирующей подачи наружного воздуха

🔥Шахта лифта для пожарных не может использоваться для компенсирующей подачи наружного воздуха

  • 0
2019-05-21 11:13 0
Условие:
Жилой дом 18 этажей с теплым чердаком.
2 лифта - пассажирский лифт и лифт для перевозки пожарных подразделений (с опуском в цокольный этаж).
Лифты расположены в общей лифтовой шахте, ограждающие конструкции с пределом огнестойкости не менее REI 120, двери шахты с пределом огнестойкости 30 мин (EI 30).
Перед дверьми шахты лифтов предусмотрен лифтовой холл, на каждом этаже.
Вопрос: возможно ли делать компенсацию дымоудаления из поэтажных коридоров, через эту шахту лифтов, с установкой на каждом этаже нормально закрытого противопожарного клапана?
2019-05-21 11:13
  • 0
Николай Морозов
Ответил эксперт:
В соответствии с подпунктом "к" п.7.14 СП 7.13130.2013 "Отопление, вентиляция и кондиционирование. Противопожарные требования"  подачу наружного воздуха при пожаре системами приточной противодымной вентиляции следует предусматривать в нижние части атриумов, пассажей и других помещений, защищаемых системами вытяжной противодымной вентиляции, для возмещения объемов удаляемых из них продуктов горения.
В соответствии с п.8.8 СП 7.13130.2013  компенсирующая подача наружного воздуха приточной противодымной вентиляцией с механическим побуждением может быть предусмотрена автономными системами или с использованием систем подачи воздуха в тамбур-шлюзы или лифтовые шахты. При этом в ограждениях тамбур-шлюзов или лифтовых шахт, к которым непосредственно примыкают защищаемые помещения, должны предусматриваться специально выполненные проемы с установленными в них противопожарными нормально-закрытыми клапанами и регулируемыми жалюзийными решетками. Двери тамбур-шлюзов должны быть сблокированы с приводами клапанов в цикле противохода. Допускается применение клапанов избыточного давления в противопожарном исполнении с требуемыми пределами огнестойкости. Компенсирующий переток воздуха из шахт лифтов допускается только для лифтовых установок с режимом управления "пожарная опасность". Шахты лифтов с режимом "перевозка пожарных подразделений" и незадымляемые лестничные клетки типа Н2 использовать для подобного устройства не допускается.
В соответствии с п.5.2.1 ГОСТ Р 53296 - 2009 "Установка лифтов для пожарных в зданиях и сооружениях. Требования пожарной безопасности"  лифт для пожарных должен размещаться в выгороженной шахте. Ограждающие конструкции шахт должны иметь предел огнестойкости не менее 120 мин (REI 120). В ограждающих конструкциях шахт допускается выполнять проемы и отверстия для установки дверей, оборудования лифта, а также для систем вентиляции.
В соответствии с п.5.1.7 ГОСТ Р 53296 - 2009  двери шахт лифтов для пожарных должны быть противопожарными с пределами огнестойкости не менее 60 мин (EI 60). В случае размещения лифта для пожарных в общей шахте с другими пассажирскими лифтами двери шахт всех лифтов в этой общей шахте (см. приложение А, рис.А.3) должны быть противопожарными с пределами огнестойкости не менее 60 мин (EI 60).
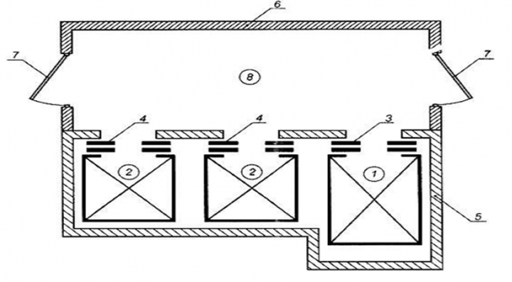
Рис.А.3 ГОСТ Р 53296 - 2009 "Схема размещения лифта для пожарных в общей шахте с другими пассажирскими лифтами"
1 - лифт для пожарных;
2 - пассажирские лифты;
3 - противопожарная дверь шахты лифта для пожарных с пределом огнестойкости EI 60;
4 - противопожарные двери шахты пассажирских лифтов с пределом огнестойкости EI 60;
5 - ограждающие конструкции общей шахты с пределом огнестойкости REI 120;
6 - противопожарные перегородки 1-го типа, ограждающие лифтовый холл (тамбур);
7 - противопожарные двери 2-го типа лифтового холла (тамбура) в дымогазонепроницаемом исполнении;
8 - лифтовый холл (тамбур)
Соответственно, в случае размещения лифта для пожарных в общей шахте с другими пассажирскими лифтами, данная общая лифтовая шахта рассматривается как шахта лифта для пожарных.
Соответственно, в этом случае на основании требований п.8.8 СП 7.13130.2013  данная общая лифтовая шахта (рассматривается как шахта лифта для пожарных) не может использоваться для компенсирующей подачи наружного воздуха (компенсирующего перетока воздуха).

Если не можете найти нужное решение, задайте свой вопрос!

Пожалуйста, более подробно опишите Вашу ситуацию (не менее 150зн).
Услуга бесплатна.

Закажите звонок эксперта по пожарной безопасности!
Перезвоним моментально:

Услуга бесплатна.