Отвечаем на вопросы по пожарной безопасности
Попробуйте найти аналогичную тему среди 4821 имеющихся вопросов по пожарной безопасности или
Задайте свой вопрос 
» » 🔥О применении правила пункта 5.4.16 СП 2.13130.2012

🔥О применении правила пункта 5.4.16 СП 2.13130.2012

  • 0
2019-05-13 12:49 0
1. Во внутреннем углу блок-секции между окнами менее 4 метров. Нужны ли противопожарные окна?
2. Во внутреннем угле одной квартиры между окнами менее 4 метров. Нужны ли противопожарные окна?
2019-05-13 12:49
  • 0
Николай Морозов
Ответил эксперт:
В вашем конкретном случае не применяется требование п.5.4.16 СП 2.13130.2012  в части "если при размещении лестничных клеток в местах примыкания одной части здания к другой внутренний угол составляет менее 135°, необходимо, чтобы наружные стены лестничных клеток, образующие этот угол, имели предел огнестойкости по признакам EI и класс пожарной опасности, соответствующий внутренним стенам лестничных клеток. Допускается предусматривать в указанных стенах лестничных клеток оконные проемы или светопрозрачные конструкции, а также дверные проемы. При этом расстояние по горизонтали от оконных и дверных проемов лестничных клеток до проемов (оконных, со светопрозрачным заполнением, дверных и т.д.) в наружных стенах зданий должно быть не менее 4 м. При расстоянии между вышеуказанными проемами менее 4 м они должны быть заполнены противопожарными дверями или окнами с пределом огнестойкости не менее EI (E) 30".
Пример.
Вариант применения п.5.4.16 СП 2.13130.2012  для зданий I степени огнестойкости, класса конструктивной пожарной опасности С0.
Также необходимо учитывать, что в соответствии с ч.8 ст.88 Федерального закона от 22 июля 2008 года N 123-ФЗ "Технический регламент о требованиях пожарной безопасности"  (ред. от 02.07.2013) окна в противопожарных преградах должны быть неоткрывающимися.
Соответственно, вариант с противопожарными окнами возможно применять только в лестничных клетках типа Н2, так как в наружных стенах лестничных клеток типа Л1 и Н3 должны быть предусмотрены на каждом этаже окна, открывающиеся изнутри без ключа и других специальных устройств, с площадью остекления не менее 1,2 кв.м (п.5.4.16 СП 2.13130.2012 ).
В вашем конкретном случае необходимо учитывать требования пожарной безопасности, установленные к конструктивным и объемно-планировочным решениям незадымляемых лестничных клеток типа Н1.
Требования пожарной безопасности к конструктивными и объемно-планировочными решениям незадымляемых лестничных клеток типа Н1 установлены п.4.4.9 СП 1.13130.2009 "Системы противопожарной защиты. Эвакуационные пути и выходы"  (в редакции от 09.12.2010).
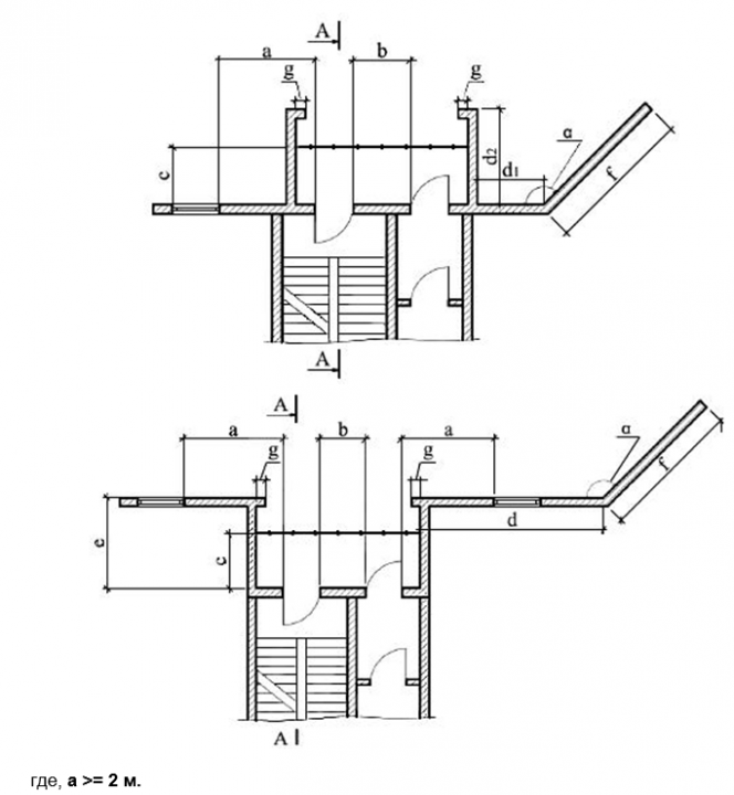
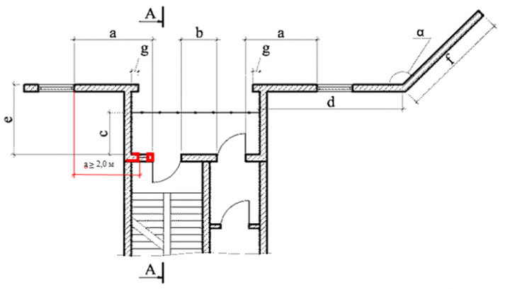
В соответствии с п.4.4.9 СП 1.13130.2009  между дверными проемами воздушной зоны и ближайшим окном помещения ширина простенка должна быть не менее 2 м.
Пунктом 8.3  и обязательным приложением "Г" СП 7.13130.2013 "Отопление, вентиляция и кондиционирование. Противопожарные требования" установлены типовые решения по устройству поэтажных переходов через наружную воздушную зону к незадымляемым лестничным клеткам типа Н1.
В соответствии с п.5.4.16 СП 2.13130.2012 "Системы противопожарной защиты. Обеспечение огнестойкости объектов защиты"  (ред. от 23.10.2013) в наружных стенах лестничных клеток типа Н1 должны быть предусмотрены на каждом этаже окна, открывающиеся изнутри без ключа и других специальных устройств, с площадью остекления не менее 1,2 кв.м. Устройства для открывания окон должны быть расположены не выше 1,7 м от уровня площадки лестничной клетки или пола этажа.
Соответственно, конструктивные и объемно-планировочные решения лестничных клеток типа Н1 должны соответствовать типовым решения по устройству поэтажных переходов через наружную воздушную зону к незадымляемым лестничным клеткам типа Н1 (п.8.3 , приложение "Г" СП 7.13130.2013 ) с учетом п.4.4.9 СП 1.13130.2009  и п.5.4.16. СП 2.13130.2012 .
Исходя из анализа требований п.4.4.9 СП 1.13130.2009 , п.8.3 , приложения "Г" СП 7.13130.2013  и п.5.4.16. СП 2.13130.2012  возможно сделать вывод о том, что окна (открывающиеся изнутри без ключа и других специальных устройств, с площадью остекления не менее 1,2 кв.м с устройством для открывания расположенное не выше 1,7 м от уровня площадки лестничной клетки или пола этажа) возможно разместить, к примеру, в наружной стене слева от дверного проема лестничной клетки типа Н1, при этом между окном лестничной клетки и ближайшим окном помещения ширина простенка должна быть не менее 2 м (по аналогии с требованием п.4.4.9 СП 1.13130.2009).
К примеру:

Если не можете найти нужное решение, задайте свой вопрос!

Пожалуйста, более подробно опишите Вашу ситуацию (не менее 150зн).
Услуга бесплатна.

Закажите звонок эксперта по пожарной безопасности!
Перезвоним моментально:

Услуга бесплатна.