Отвечаем на вопросы по пожарной безопасности
Попробуйте найти аналогичную тему среди 4821 имеющихся вопросов по пожарной безопасности или
Задайте свой вопрос 
» » 🔥Параметр "длина глухого участка стены"

🔥Параметр "длина глухого участка стены"

  • 0
2019-05-15 07:36 0
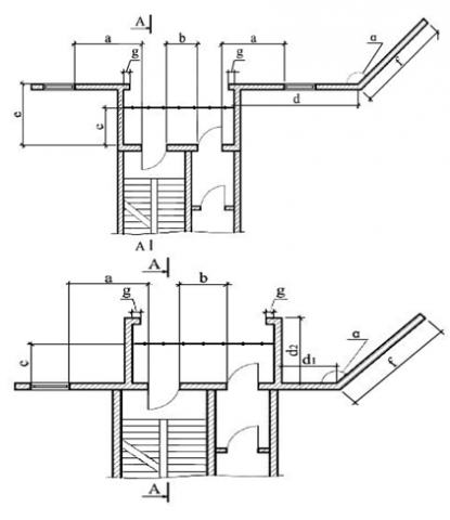
Как следует трактовать параметр f в приложении Г  к СП 7.13130.2013  - как участок глухой стены (тогда не понятно, почему он указан только в одну сторону от входящего угла) или как выступ наружной стены, о котором также говорится во втором абзаце п.4.4.9 СП 1.13130.2009? 
Есть ли какие-то разъяснения по этому поводу от ВНИИПО МЧС?
2019-05-15 07:36
  • 0
Николай Морозов
Ответил эксперт:
Конструктивные и объемно-планировочные решения лестничных клеток типа Н1 должны соответствовать типовым решениям по устройству поэтажных переходов через наружную воздушную зону к незадымляемым лестничным клеткам типа Н1 (п.8.3 , приложение "Г" СП 7.13130.2013 "Отопление, вентиляция и кондиционирование. Противопожарные требования" ) с учетом п.4.4.9 СП 1.13130.2009 "Системы противопожарной защиты. Эвакуационные пути и выходы"  (в редакции от 09.12.2010) и п.5.4.16 СП 2.13130.2012 "Системы противопожарной защиты. Обеспечение огнестойкости объектов защиты"  (ред. от 23.10.2013).
В соответствии с п.4.4.9 СП 1.13130.2009  при примыкании одной части наружной стены здания к другой под углом менее 135° необходимо, чтобы расстояние по горизонтали до ближайшего дверного проема в наружной воздушной зоне до вершины внутреннего угла наружной стены было не менее 4 м; это расстояние может быть уменьшено до величины выступа наружной стены; данное требование не распространяется на переходы, расположенные во внутренних углах 135° и более, а также на выступ стены величиной не более 1,2 м.
Приложение Г СП 7.13130.2013 "Типовые решения по устройству поэтажных переходов через наружную воздушную зону к незадымляемым лестничным клеткам типа H1" .     
В данном случае на основании п.4.4.9 СП 1.13130.2009 , п.8.3 , приложения "Г" СП 7.13130.2013  при примыкании одной части наружной стены здания к другой под углом менее 135° (угол a<135°) необходимо, чтобы расстояние по горизонтали до ближайшего дверного проема в наружной воздушной зоне до вершины внутреннего угла наружной стены было не менее 4 м (d >= 4,0 м), это расстояние может быть уменьшено до величины выступа наружной стены (d=(d1+d2) >= 4,0 м); данное требование не распространяется на переходы, расположенные во внутренних углах 135° и более (угол a >= 135°), а также на выступ стены величиной не более 1,2 м.
Параметр f 3м (длина глухого участка стены) применяется в случае примыкания одной части наружной стены здания к другой под углом менее 135° (угол a <  135°).
Данные требования применяются в случае примыкания одной части наружной стены здания к другой под углом менее 135° (угол a  <= 135°) как с правой стороны (образец согласно приложению Г СП 7.13130.2013 ), так и с левой стороны.

Если не можете найти нужное решение, задайте свой вопрос!

Пожалуйста, более подробно опишите Вашу ситуацию (не менее 150зн).
Услуга бесплатна.

Закажите звонок эксперта по пожарной безопасности!
Перезвоним моментально:

Услуга бесплатна.